周华坤研究小组发现一种高寒草地植物群落特征对生态系统N存留影响的生态机制
生态系统N存留是调节生态系统生产力和生态过程的关键功能。目前人们对植物群落特征如何影响生态系统N存留的认识并不一致。很多研究表明物种丰富度可以促进生态系统N存留,但也有研究发现优势植物种对生态系统N存留影响更大。植物功能性状已被广泛用于解释物种多样性对N存留的影响,但同时也发现植物功能特征并不能总是很好地解释植物对N的吸收。为此,中国科学院西北高原生物研究所、青海省寒区恢复生态学重点实验室研究员周华坤及博士王芳萍、副研究员姚步青等在青海海北高寒草地生态系统国家野外科学观测研究站N、P添加样地开展相关控制试验,通过15N标记,测定分析了不同土壤养分条件下植物群落特性,包括植物物种丰富度、优势度和功能特性,对生态系统N存留的影响。

青海海北高寒草地生态系统研究站N、P添加实验样地同位素注射
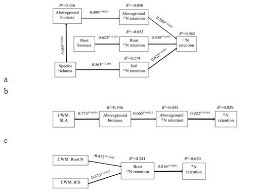
结果表明,在土壤低N条件下,生态系统N存留受植物根系资源利用保守性状影响,在土壤中N条件下,受物种丰富度和植物生物量的影响,而在土壤高N条件下,则受植物叶片资源快速利用性状的影响。因此,植物群落特征对生态系统N存留的控制受到养分输入的影响,并由植物群落水平随土壤N状况而变化的性状所介导。这种高寒草甸植物群落特征对生态系统N存留影响受土壤养分条件调节机理的发现,对于高寒草地群落特征与养分生物地球化学相互作用的认识,预测青藏高原高寒草甸生态系统氮素存留及其植被变化提供了一种新机制,对于高寒草地结构和功能稳定性调控、高寒草地退化演替机制的深刻理解具有重要意义。

不同养分条件下植物群落特征对生态系统N固持的影响(a:对照;b:N添加;c:P添加)
研究结果于12月26日以“Ecosystem nitrogen retention is regulated by plant community trait interactions with nutrient status in an alpine meadow”为题在线发表在环境科学与生态学一流专业期刊Journal of Ecology上(2016-2017年最新影响因子5.813)。论文链接:http://onlinelibrary.wiley.com/doi/10.1111/1365-2745.12924/full 。据悉,该论文为中科院西北高原生物所和青海省寒区恢复生态学重点实验室在该杂志首篇第一署名单位文章。该研究得到了国家自然科学基金(31472135,31572354,31500427), 青海省创新平台建设项目(2017-ZJ-Y20) 和国家重点研发计划(2016YFC0501901;2016YFC0501903)等项目的资助。




青公网安备 63010402000197号